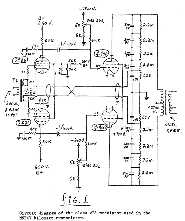
Back To East Coast Sound      Home