ISSUE NO. 73                            May 1989

New Part 97 Rules Adopted

On May 31, 1989, the FCC adopted the long anticipated rewrite of the rules governing amateur radio. There were few surprises in the final draft; preliminary reading indicates more changes in the organization and wording of Part 97 than in the actual rules themselves. The most profound change adopted in the new rules is the redefinition of modes of emission. The numerous emission types and designators have been redefined as CW, Data, Image (TV and FAX), MCW (tone modulated Morse code), Phone, Pulse, RTTY, SS (spread spectrum) and Test.

AM transmission falls under the "Phone" designator, which is all-inclusive for voice transmission. The rules no longer contain any reference to specific modulation techniques such as double or single sideband, or amplitude, frequency or phase modulation. "Phone" is defined in the rules as "Speech and other sound emissions having designators with A, C, D, F, G, H, J, or R as the first symbol; 1, 2 or 3 as the second symbol; E as the third symbol. Also speech emissions having B as the first symbol; 7, 8, or 9 as the second symbol; E as the third symbol. Nevertheless, the 10-metre SSB-only restriction for the new Novice phone band still stands; §97.307 "Emission Standards", (f)(10) states: "A station having a control operator holding a Novice or Technician Class operator license may only transmit (CW) or phone emissions J3E and R3E."

No specific bandwidth limits are imposed on AM or other emission modes. However, §97.307 (a) states: "No amateur station transmission shall occupy more bandwidth than necessary for the information rate and emission type being transmitted, in accordance with good amateur practice," which does not appear to impose any new bandwidth restrictions on AM. There is a possibility that this rule could be interpreted to limit AM to "communications quality" bandwidth for operation under congested band conditions. §97.307(f)(2) states: "No non-phone emission shall exceed the bandwidth of a communications quality phone emission of the same modulation type. The total bandwidth of an independent sideband emission (having B as the first symbol), or a multiplexed image and phone emission, shall not exceed that of a communications quality A3E emission." THIS SHOULD NOT BE INTERPRETED TO MEAN THAT ALL PHONE EMISSIONS MUST BE LIMITED TO COMMUNICATIONS QUALITY. Upon careful examination, no such restriction is found to exist in the new rules.

The 1990 AM power reduction is still on schedule under revised rule §97.313 "Transmitter Power Standards"; (b) states: No station may transmit with a transmitter power exceeding 1.5 kW PEP. Until June 2, 1990, a station transmitting emission A3E is exempt from this requirement provided the power input (both RF and direct current) to the final amplifying stage supplying RF power to the antenna feed line does not exceed 1 kW, exclusive of power for beating the cathodes of vacuum tubes." Under "Definitions" §97.3(b)(6), PEP (peak envelope power) is "The average power supplied to the antenna transmission line by a transmitter during one RF cycle at the crest of the modulation envelope taken under normal operating conditions."

The final adopted version of the rules rewrite deleted the proposed time limit on test transmissions: §97.111 (Authorized transmissions) (b) "...an amateur station may transmit the following types of one-way communications: (1) Brief transmissions necessary to make adjustments to the station;..." Also, §97.111(b)(6) permits "Transmissions necessary to disseminate information bulletins."

Your personal copy of the complete text of the revised regulations is available for $3.00 postpaid from ARRL, Part 97 Rewrite, 225 Main St., Newington, CT 06111; or for $2.00 postpaid from W5YI Report, P.O. Box 565101, Dallas, TX 75356-5101.


UPS Connection Haunts New FCC Nominee

On August 4, 1988, under Docket 87-14, the FCC reallocated 220-222 MHz from the amateur radio service to commercial land mobile interests, ignoring some 6,000 comments in opposition from the public. Amateurs presently use the 220-222 MHz frequency band for a variety of purposes, including weak-signal experimentation, and the development of a state-of-the-art intercity data communications network that offers a backup emergency communications capability for the benefit of the public.

In May, a Congressional subcommittee, chaired by West Virginia Congressman Bob Wise, conducted an oversight hearing into the Commissions's decision-making process on the 220 MHz issue. On several occasions FCC testimony at the hearing overlooked evidence in the record or contradicted what the Commission had stated last August when the decision was made.

On June 15, the FCC acted to reaffirm its decision in this matter, rejecting arguments presented in some 700 Petitions For Reconsideration that the original decision failed to adequately consider the impact of the reallocation on radio amateur volunteers who engage in scientific experimentation and who supply public service and disaster communications services.

One of the parties strongly supporting this reallocation is United Parcel Service. Even though UPS did not file comments on this proceeding until six months after the comment period had ended, the Commission nevertheless officially accepted UPS' pleadings. UPS stands to be the primary beneficiary of this reallocation once it becomes reality. While UPS has pursued this matter before the FCC with apparent success, representatives of the amateur radio service have accused the FCC of ignoring evidence that did not support its preconceived position, much in the same manner as the Commission handled the AM power limit issue under PR Docket 82-624. It now looks like the 220 MHz issue will ultimately be taken to the federal Court of Appeals by representatives of amateur radio, including ARRL.

The Bush Administration recently nominated Sherrie Marshall to fill a commissioner vacancy at the FCC. This appointment has become very controversial in amateur radio circles since Ms. Marshall is currently with Washington D.C. law firm of Wiley, Rein and Fielding. Dick Wiley, founder of the firm, is a very influential ex-FCC chairman. One of their primary clients is United Parcel Service, which played a key role in the 220-222 MHz reallocation to narrowband commercial use.

Ms. Marshall's association with this law firm is seen to place her into a position of conflict of interest in her possible FCC position. Amateur radio activists have initiated a grassroots effort to fight her nomination, which must be confirmed by the U.S. Senate before she can be sworn in as a commissioner. A message is being circulated urging all radio amateurs to immediately write to each of their Senators and demand that the nomination not be confirmed. "For the Senate to do otherwise is, in effect, to practise an unfair double-standard in the matter of conflict of interest. Remember that the Senate very recently rejected former Senator John Tower under similar circumstances. To deal with Ms. Marshall any differently will be seen by the public as nothing less than the exercise of a double standard, or even worse, hypocrisy."

Not all those who claim to speak for the interests of amateur radio are supportive of this protest action, and this reportedly includes ARRL. A lot of pressure is being exerted on the principals involved to call off this action and let the nomination of Marshall go unchallenged. According to W5YI Report much of the information being circulated is full of half truths, misspellings and poor English. Although her law firm is admittedly well connected, there have been no pronouncements that would give evidence that Marshall is prejudiced against amateur radio, according to W5YI. "The big amateur radio outcry against her appears to be based on much misinformation. It is doubtful we will have much difficulty in obtaining Senate confirmation. They all know her background." Over the past several years she is reported to have worked for the Department of the Treasury, Federal Election Commission, as an aide to outgoing FCC chairman Patrick, and as a White House counsel during the Reagan Administration and the transition to the Bush presidency. She is also a former counsel for the Senate Rules and Administration Committee.

- Westlink Report, W5YI Report, 220 NOTES Newsletter

EDITOR'S NOTE: The pros and cons of Ms. Marshall's confirmation aside, this story reads pure politics. She is a lawyer, not an engineer, and this is a case in point of what is wrong with the FCC, why the commissioners routinely rubber-stamp decisions made by anonymous bureaucrats.

Her long resume includes a list of political functions, but there is no mention of any experience requiring technical knowledge in the field of telecommunications. The federal courts are claimed to lack the expertise to overrule regulatory agencies such as the FCC. Could we expect Ms. Marshall to be able to make an informed decision, based on sound technical reasoning, on such matters as peak envelope power, decibels, and the communications effectiveness of AM, CW and SSB emissions?
 
 


British Packet Racket On 10 Metres

UNITED KINGDOM (via GB2RS) The UK's first 29 MHz AFSK packet mailbox has received its licence: GB7MAC, run by GM4AUP in Airdrie. It uses FM modulation at 1200 baud. No specific operating frequency is given. Remember the APSK FM packet signal that was creating havoc in the 10 metre AM window? This British operation will undoubtedly generate further pressure on the FCC to authorize such operation in the U.S. In any case, if the British station operates between 29.0 and 29.2 MHz, its signal will likely cause serious disruption to U.S. AM operation whenever propagation is open to Europe on those frequencies. This will also have a disruptive effect in transatlantic AM communication on this band, and will be a disappointment to AMers looking forward to low power DX with the renewal of sunspot activity.

-TNX Westlink Report


Come Get These Radio Parts!

A roomful of radio and electrical parts and hardware, some dating back to the 1920's, is available to anyone willing to drive to East Tennessee to pick it up within the next month or so. Several kilowatt size single section variable capacitors, transmitting tube sockets, a six-foot tall enclosed relay rack, two BC-375's, and dozens of boxes filled with small variable capacitors, relays, receiving tube sockets, power and audio transformers and many other items are available from the estate of a deceased ham. There is some moisture damage from recent heavy rains and some flooding in the area, but most items are salvageable and stored in labelled boxes. One warning - watch out for bugs. A couple of brown recluse spiders and a lot of silverfish were seen while looking through this stuff. The owner's family will probably give it all away to anyone willing to move it all out to sort through later. Everything must go, except for the extensive tube collection which is already spoken for by an antique radio club somewhere on the East Coast. If there are no takers, most of this "junk" will undoubtedly end up in the landfill within a few weeks.

The estate is located in Dayton, TN, the town where the famous Scopes "Monkey" trial was held in the 1920's. The original courthouse still stands. This part of the state is mountainous and very scenic, so it should be a pleasant drive to get there. For more information, contact Tom Davis, Lowell Hoyt, or Alice Davis.


Amplitude Modulation Rediscovered
Or Why I Operate AM
By Andy Howard, WA4KCY, Carrollton, GA

I was first licensed in September of 1962 after a stint in the U. S. Army. Shortly after receiving my license in the mail I acquired an old ART-13 and a 75A1 receiver from an amateur who was going to sideband. With this station and a dipole thrown up between two tall Georgia pine trees, I spent many joyous hours on 40 meter AM. At this time, single sideband was gaining momentum and there were about as many sideband stations as AM stations. I kept up my AM activity for a few years, mainly because at this time in my life I could not afford any of the newer sideband gear. I did not know that there was enough money in the world to buy any of the Collins sideband equipment. In the process of raising a family and moving a couple of times, my hamming was put on hold.

For a number of years the only thing I had was a 2 meter rig, and that was not used actively. In 1984 the bug finally bit again, and in a couple of years I had spent close to $10,000 on radio equipment. I operated this for about 3 years, and the thrill again began to fade. I had even talked my wife into getting a technician class ticket, and I had upgraded to advanced. I had not given AM any thought for years, and did not even know that there was any activity on the bands using this mode. While tuning around on the upper end of 10 meters one afternoon, I found some stations on AM and was thrilled to hear them talking about a friend of mine (N5JBT) in Texas. It seems that he was in the QSO, but I could not copy him because of skip conditions.

I tried to get into the conversation using the AM mode on my Kenwood 930, but apparently they could not copy such a weak signal. In the following weeks, however, I was able to make several contacts. Then I found the AM group that gathers on 3.885 Sunday afternoons in the southeast. These stations, which are located mainly in the Atlanta area, were having a great time talking about AM and the old rigs that I had forgotten about through the years. It turned out that there were also some stations in Tennessee that would join in from time to time. I found out that there was a fellow in Lanett, Alabama that had a couple of old ART-13's in his basement, and I contacted him about getting one. Phil (W4HGH) was very helpful. He gave one of the transmitters to me on the condition that I would put it on the air. I took about a month to get it going, including getting together all the power supply parts. You can imagine trying to find chokes, oil-filled capacitors and the like after years away from this sort of equipment. It was the thrill of my life when I finally got on the air with this old relic. I found that the only problem with the ART-13 was getting enough audio to modulate it properly. With the 1-1/2 volts supplied to the carbon microphone, it just wasn't there. Anyone who has worked me while I was using this rig knows that I licked this problem. It is just a matter of feeding the carbon mike with a little more voltage than normal.

Since then I have acquired a T-368, an R-390A, a Hammarlund HQ-170, another ART-13 and a 32V3 and 75A4. The Collins equipment was bought to work 10 meters. I have had some really good contacts with Norm (WB6TRQ) on this equipment, as well as a contact with a good friend in New Zealand. All seems to rekindle the thrill we had when first getting on the air. I still work sideband, but AM is what occupies most of my operating time. I was involved in a discussion at the home of Ernie (K0OCC) after the Atlanta Hamfest last year. Ernie had planned this get-together for AMers from all over the southeast. I think that it was Jim (W4PMN) of Augusta who asked the original question, "What made you get back on AM"? We all had about the same answer. We heard AM signals on the bands and thought that it would be fun to be back on the mode. For me it is good to know that I can repair my AM equipment myself instead of having to take it to the repair shop.

I have met some really nice people on AM. Another AMer in Carrollton, Jimmy (KQ4S) and I even had a visit from the famous California AMer K6HQI. It seems that the list of people getting back into AM is growing steadily. I have worked amateurs who are newly licensed and don't own any sideband equipment. Far from being a dying mode, AM is showing new vitality. People are discovering what some of us have know all along, that the audio quality of AM makes the mode more enjoyable to work than sideband. I am now back to building equipment. This is a facet of the hobby that I had given up with all the new modes of the last few years. My present project is, of all things, an AM transmitter using a pair of 813's modulated by a pair of triode connected 813 modulators.

Let's all hope that we can continue to operate AM for a long time. Even if the power restrictions come about in 1990, with a good antenna and well designed equipment we should not be adversely affected.
 
 


OPEN FORUM

Editor, AM Press/Exchange:

Re: SPAM and QCWA

After a number of years away from ham radio, I recently joined the Quarter Century Wireless Association (QCWA) to help feed my ham nostalgia interests. As a new QCWA member, I'm not totally familiar with the make-up of the organization. I do know, though, that it is a large, organized group with a significant voice in ham radio, based on the heritage of its members.

Since QCWA membership is based on an exposure to ham radio going back at least 25 years, I felt that A.M. interests would be well represented. However, I was quite surprised after reviewing the biographies of the 15 candidates for election as officers and directors of QCWA in 1989: none listed any SPAM affiliation! (And these were fairly detailed bio's that showed membership in such organizations as ARRL, SOWP, OOTC, VWOA, IARU, RC of A and local radio clubs).

I had not personally heard any of them active on A.M. (but that's no qualification). The only person I could connect with A.M. was Harry Dannals, W2HD, candidate for president, who ran an ad in the "AM Press/Exchange" a few months ago, selling an A.M. modulator.

It's my feeling that those candidates who are A.M. active or SPAM members should let the Press Exchange know, so that we can support those who also support A.M. It is also my feeling that QCWA, as much as any other group, should have some strong A.M. representation. I would certainly be glad to learn that some of those QCWA candidates are also AM supporters.

John Morehead, N9HRS
 
 
 

Editor, AM P/X:

Wednesday, July 5, 1989

I was amused, but not surprised, at Ed's viewpoint (WA3PUN) regarding the constant SSB operation from the fifth call area district in the 75 meter AM window. He states he read my previous letter to the editor with "great interest" ... but, apparently not very carefully.

Had he done so, he would have realized a Ranger or Elmac does not take up the space of an AM kilowatt transmitter, and when used with this individuals linear amplifier, would be comparable to signals of others in the same area that Ed can hear!

To imply that SSB in itself eliminates RFI is as ludicrous as his statement that SSB is a good buffer of malicious sideband interference! Operating SSB only accomplishes making your RFI sound like an SSB signal received on an AM detector, but it will still be present, Ed. It's this kind of absurd, erroneous thinking that keeps many fine people off the AM mode, and as a very devout lover of AM, I strongly resent that implication! NBFM is, by far, more effective in TOTALELIMINATION of this kind of problem, ANDmuch morecompatible thanSSB in the AM window!

SSB, with only one channel of intelligence, is, therefore, much easier to jam, and certainly cannot be considered a "good buffer." Considering that this SSB operation causes others to switch from AM to SSB, (with impunity) what does it "buff," Ed??

Perhaps Ed finds my views "to be slightly paranoid" because he doesn't work the other bands and is unaware, for example, of how a "phony" SSB DX net has run most AMers off 7160 kcs., a long established AM frequency! If Ed finds my views as paranoid, then he has completely missed my entire point, that AM attracts more AM and is the ONLY MODE that gives us FREE PUBLICITY and LEGAL RECOGNITION!!

With the various anti-AM FCC dockets and actions (like the SSB-only 10m Novice subband) over the past 15 years or more (the AM legal power limit still pending), we certainly need the LEGAL RECOGNITION!! With ARRL's "unofficial" consideration of a NO-CODE license and their constant membership drive to increase their numbers, the FREE PUBLICITY wouldn't hurt either, Ed. FCC, these days, seems to be impressed by these "numbers." At least, ARRL apparently feels this way! When all the guys are on SSB, how is anyone supposed to know there's AM in there, somewhere?? (Especially when this SSB operation in the 75 meter AM window QSOs 1 or 2 kcs. away. I have observed this to be the case at least twice a week, Ed.)

Many excuses are made for laziness, and peer pressure, rather than encouragement of this constant SSB operation in the AM window, is what is needed here! Ed, if I am paranoid, rather than simply being REALISTIC, I'll give you all my AM gear and condescend to operating an SSB "telephone," or give up ham radio entirely!!

Rick Miczak, K8MLV/0

AM forever!!

P.S. On a related topic, there are some individuals on the various bands who get into an AM QSO and switch to SSB at the drop of a hat, whether or not QRM is present. I operate AM because I like it, and find this ridiculous practice extremely aggravating, unless there's a good reason - such as the AM rig blowing up! To use QRM as an excuse is utter nonsense, as SSB is much easier to jam. Some of these poor, misguided individuals, even when told by others in the QSO repeatedly that the SSB doesn't improve copy, still think they are doing something of tremendous import by switching to SSB! Whenever I've seen the SSB perform better, there was, without exception, substantially more dc input power used on SSB, than on the AM mode!
 
 
 

Editor, AM P/X:

Your June editorial certainly has some basis in fact; however, I believe that the problem that many hams especially the AMers are experiencing in securing parts and older equipment lies not so much with the lack of hamfest organization as it does with the lack of participation on the part of many local radio clubs.

I have witnessed within Western Pennsylvania (if that is a "yardstick measure") the curtailment of local hamfests. Many local clubs in our area once sponsored hamfests where, in many instances, a number of good buys could be found.

Unfortunately, many older pieces of ham equipment have become exceedingly scarce because (1) their owners believe that no one is really interested in buying an older AM receiver or transmitter and/or (2) their owners, who are often a greying population, do not wish to wrestle with this gear, loading and unloading an item that may be a hernia waiting to happen.

Unfortunately, this trend will continue unless someone in the local club initiates a committee to stage such an event. At the very least, several clubs could come together to provide the "manpower" needed to spearhead such a yearly project. Perhaps, too many local clubs have abandoned their yearly hamfest because it was not that profitable or that liability became a problem. Whatever the reason, more AMers should, if they wish to attract the local ham who has an interest in disposing of his older equipment, organize a local hamfest themselves. One idea that could be promoted is to sponsor a "Winterfest" in a local firehall or municipal building or church recreation hall. What are you waiting for?

Dave Knepper, W3BJZ
 
 
 

Editor, AM P/X:

Monday evening, July 3rd, at 9:22 local time, I had my first 6 meter QSO ... AM, of course. The station I contacted was K4HHH, Mel, an old 40 meter AMer friend from when I lived in Florida. Mel and I have maintained contact via 10 meter AM and did not schedule the 6 meter QSO. He didn't even know I was getting on 6 meters. Our second QSO the following day was with a group of five other AMers. Unfortunately, K4HHH was the only station in the South.

The point of this old buzzard letter is to ask "Where are the rest of the 6 meter AMers?" K4HHH reports many signals from the Northeast, but I have heard only three signals from the South and West. The SSBers are coming in from everywhere. So, how about some activity from the rest of the AM gang?

The junk ... that is, the station here is a Griefkit Seneca (with a most unstable VFO and soft finals), an NC303 with National 6 meter converter, and a jury-rigged two element beam. Hope to hear some more 6 meter AM soon!

73, John Martin, W4KYL
 
 


6 Meter A.M. Note
John Morehead, N9HRS

Sunspot cycle #22 has already created a swell in 10 meter A.M. activity, which means that long-haul 6 meter F2 openings to Europe, Japan and Africa are not far away. For a band where it's been said that, "if you can have a local QSO under normal conditions, then you can work DX during the sunspot peaks," this is quite exciting.

According to KT2B in "73" magazine, "conditions of enhanced long-haul F2 propagation can be so intense that a mere 3 watts and a whip antenna will get you across the USA and even into some other countries." I'll verify that based on my own experiences in the 60's with a 7 watt Clegg 99er.

However, I picked up a current issue of "QST" and noted that Stan Brigham, W3TFA, is still working 6 meter DX with a Heathkit 'Sixer'. In corresponding with Stan, I learned that much of his "Sixer" DX has been in the c.w. mode (by plugging a key into the meter jack) and some of his phone contacts were cross-mode (AM-ssb). What I was shocked to learn from Stan was that he "rarely hears an AM station during a band opening." Rather than being a tragedy, I believe this is an opportunity of the highest order for AMers.

Stan notes that "most 6 meter activity transpires between 50.100 and 50.150 MHz, unless there is a lot of activity, (and then) stations spread up the band to 50.250 MHz.

Now comes the fun part. Most of the above activity is c.w. and ssb, while the informal "National AM calling frequency' is 50.400 (well removed from the clutter). With 10 meter A.M. becoming crowded, maybe you should give 6 meters a try. I'll offer just a few more reasons:

1 - Low power on 6 is not a liability. You can get out well with QRP and there is plenty of undisturbed room on the band.

2 - 6 meter A.M. rigs are available at "give-away" prices. If you don't believe me, just check the next hamfest you attend. ($35 for a Clegg Thor, $10 for a Sixer and $3.50 for a Lincoln 7 watt transceiver are a few of my recent purchases).

3 - Antennas are a snap. A dipole can be put up in your radio room and most old TV antennas can be the basis for a nice 2-element beam.

I urge you to give 6 a try. Buy a cheap transceiver with a squelch, hook it to a dipole and turn it onto 50.400 whenever you're in the shack -- you won't be alone. More and more A.M. contacts I make note their interest in 6. I even understand that Timtron, WA1HLR, is a recognized 6 meter supporter from the past. Just recently, Andy, N5JBT, was running in his new home-brew 6 meter rig. Stan noted that in the D.C. area there is a Sunday morning A.M. net with about a dozen stations participating.

Other 6 meter A.M. net frequencies are: AL=50.250; OH=50.360; MA=50.540; PA=50.325, 50.550, 50.604 and 51.000. If you have a local net or calling frequency on 6, let the "Press Exchange" readers know. And, if you're calling CQ on 6, be sure to tune around your frequency for callers (not everyone on 6 has VFO capability).

By the way, Stan, W3TFA, is close to a 'Sixer' W.A.S., needing only HI, AL, ID, NV and WY. If you're in one of these states, give him a call on 50.400 during the next band opening.

The time is right. I'll be looking for you on 6 meter A.M.
 
 


Putting The Gates BC-250GY on 160 Meters
by Frank Gentges, AK4R (now K0BRA)

THE QUEST--This story began with an itch to get a real AM broadcast transmitter for 160 meters. It just seemed like the right thing to do. I had spent some time back in the '60s working at an AM broadcast station and had some familiarity with what was involved in such an effort. The first thing was to find a transmitter. With the help of the Washington D.C. area yellow pages, I called every radio station listed and asked to speak with the engineer. In many cases the engineer would appear on the phone, listen with some interest and then express with some sorrow that the station did not have an old AM transmitter in the back room waiting to be hauled away.

One station receptionist wanted to know why I was asking for the engineer. "I am checking to see if your station might have any old transmitters that you would want to get rid of." "What do you want with a transmitter?" she queried, sounding as if the basement was crawling with dozens of old beasts in need of removal. "To use as a ham radio transmitter" I replied with my hopes rising. Had I found the mother lode? She immediately dashed my hopes by saying "No, we don't have any," with the implication that the mother lode was there all right, but not for me and my needs.

Another station said they had this Gates 1 kilowatt that they had taken out recently, and they would like to sell it at a reasonable price. After some discussion it turned out that I would have to go get it from another station that had gotten it, but had not paid for it. "We'll go over with you and see that you get it," they assured me. "Are these people going to get mad and shoot me?" I asked. "Don't worry, we'll take care of it." After several days of wondering just how bad I wanted this new rig, a return call advised me that the other station had paid up in full and the rig would not be available. I am still not sure if I would have gone along with their plan to go into this "other" station and extract the beast in mid-song.

The best deal was for a 5 KW Gates that was backup to the backup to a shiny new solid state rig. This old Gates was a beauty to behold. It was 10 feet wide and had some fantastic iron in it. I worked a deal out with the station, and the price was very right. The only thing left was to pass the deal by the new owners of the station in New York. The word came back that they were concerned that the rig would be used for a pirate station. I assured them that this was not the case, and that I would sign a letter in blood to the effect that it would be used for legitimate amateur use. After several rounds of phone calls they nixed the deal, apparently still convinced that the rig would end up off the coast of New York, vying for valuable market share against their flagship station there.

Through all of this, I had found one station that said that if they got some money, they wanted to get a 5 KW solid state rig, and when that happened that they would be glad to get rid of their old Gates BC-250GY. I wasn't too interested in this one because it was only 250 watts, but as one good deal after another ended in shattered ruins it became the only deal in town. After many phone calls keeping up with the status of the money for the new transmitter, it finally came around my turn and the old BC-250GY was available.

The Gates BC-250GY has been a popular 250 watt transmitter for small daytime stations for years. It runs a pair of 810s in the final modulated by another pair of 810s. The rig came out shortly after WW II and went through several minor design changes, and was still showing up in Gates catalogs in the mid-70s. A pair of 810s are rated at 1 kilowatt input with 2000 volts on the plates. The BC-250GY runs 250 watts output with about 330 watts input, a significant derating from the 810 specs.

THE MOVE--After some discussion I found that the transmitter had been purchased new in 1948, had been the primary and backup transmitter, and was in the basement of a building downtown and weighed 900 pounds. I swallowed hard on the weight and the basement. I could always back out and change my phone number: they didn't know where I lived. But first, go look and see what the situation is. It sat there dark and dirty, and above all big and massive.

Forty years of city dirt had made its way through the air vents, and everything inside was covered with black sooty dirt. One could look at this as a protective coating, put there just to protect its original beauty much as cosmolene protects parts until they are used. Once in its new home, this protective coating could be whisked away with some 409 cleaner.

The stairway was wide and made of steel and should take the weight without any trouble. After several sleepless nights, it seemed that the thing was just too big to lift up. It would have to scoot, walk or slide its way into my basement. The plan slowly evolved. Put some sheets of plywood on the stairs and cover the plywood with carpeting, so as not to scratch the well preserved original finish. More carpeting on the landing, and a utility trailer could be backed up to the door. The trailer could also be lined with carpeting.

At the house the trailer could be uncoupled from the car and rolled down the back to the door, and the beast slid out into the basement door. From there, it could be slid and walked into its final position without picking it up at all. A friend offered a come-along to pull it up the stairs. There it was. The plan was simple and didn't require 10 people to gather around it and pick it up.

As moving day approached, a crew was assembled. A local carpet store put a bunch of old carpeting in the dumpster; and I took it out (for a good and noble cause, I told myself as passersby watched with some amusement and interest). Howard, W3HM would help, and also had a trailer. Charlie, N3BQW would show up, as would Terry, K7MPP; Steve N4KOU; Eric, KB4QPV and my friend with the come-along. It went like clockwork. The transmitter came up and out into the trailer with a bit of pulling and tugging to help it slide up the stairs. The trip home was as uneventful as a trip with an old refrigerator.

At the house, a 2 by 4 was lashed to the tongue of the trailer so everyone could help control its descent to the basement. Within minutes it was standing in place, and the spaghetti dinner that was promised was served up. Not bad for a day's work. My dream had become a reality, I had a broadcast transmitter of my very own.

CHECKOUT--The rig was checked against the instruction manual. There was some added circuitry for remote control that was haywired in. The remote control circuits permitted the plate voltage and plate current to be monitored at the studio using a remote control system that stayed at the station. Along with the remote control was a scheme that ran the filaments at half voltage, and when the plate switch was turned on the filaments would go to full voltage, and after a 3 second time-out the plate supply would come on. This was a neat scheme for a backup transmitter, but was not suitable for ham use. After careful comparison, the remote control and the half-hot standby circuit was removed and the transmitter returned to original design. A 220 volt line was run over from the breaker box, a dummy load was attached and the rig was fired up. A bad electrolytic was replaced, and with that, the rig loaded up to 250 watts on the original frequency of 1450 KHz. Some test audio from an FM receiver was connected into the audio input of the transmitter. The modulators worked right off and the sound from an AM monitor receiver was excellent. The meter readings were checked against the manual and recorded for future reference when operated on 160 meters.

CONVERSION-- The next step was to convert the rig to 160 meters. The instruction manual contained information on setting the BC-250GY up anywhere from 550 to 1600 KHz. The 807 oscillator has a plate tank circuit that is tuned with different fixed capacitors in combination with a variable capacitor and coil taps to cover the range. At 1450 KHz the fixed capacitor is not used. By changing the coil tap, it was found after a bit of trial and error that the tank could be tuned to 160 meters, and the 813 driver was getting enough drive.

The 813 driver plate tank again used fixed and variable capacitors along with coil taps. For 1450 KHz there is no fixed capacitor. Moving around on the coil taps resulted in finding a good tuning range for 160 meters. The 810 finals were getting less drive than on 1450 KHz, but work pressed on with the 810 output tank. This is a pi-L circuit and uses fixed and variable capacitance on both the tuning and loading capacitors. The values for 1450 calculated out to about the right values for 160 meters so they were not changed. The tank coil is an E.F. Johnson edge-wound coil with a movable clip. The clip was moved until a good dip was obtained.

Course loading was adjusted on the loading coil, and the variable capacitor provided a fine loading control. The rig was hooked to the antenna tuner and put on the air using a Viking II connected to the grid of the 807 instead of the crystal. The 807 took about 20 volts P-P on the grid and the Viking II was very lightly loaded to get this level. Several contacts were made with this haywire lash up to see what problems might develop. The existing loading capacitor did not give a very wide range of adjustment, but the antenna tuner could be used to compensate for this, so the combination gives good control over the whole 160 meter band.

After initial testing, a muting relay was added to control the receiver and to turn the Viking II driver on and off. 120 volts of relay voltage is obtained by putting a 120/240 volt filament transformer across the 240 volt primary of the plate transformer, and using the 120 tap as a stepdown auto-transformer. The 813 driver was running a lot of plate current, showing a slight amount of red color and the drive was low. The plate of the 813 went to the grids of the 810s through a 100 pf coupling capacitor. After some experimentation it was found that 40 pf increased the grid current and reduced the 813 plate current, and the plate was no longer showing any color. From this it was apparent that the 100 pf capacitor was too high and overcoupled the driver to the finals, and the 40 pf was left in.

It would be nice if the rig could be increased in power, so several tests were tried. The plate transformer has several primary taps. The lowest tap which resulted in the maximum plate voltage was tried. The plate voltage went from 1450 volts to 1800 volts. 400 mils of plate current could be tuned up without any strain, so that gave 720 watts. A 16 ufd. oil capacitor was added to the input of the choke input filter. On the tap that had given 1450 volts, the voltage raised to 2000 volts. Under modulation, the voltage swing was barely perceptible at about 25 volts.

This second approach seemed to be the best way to go with less strain on the plate transformer as well as 200 more volts. The 810 finals are rated for continuous service at 2000 volts, so it didn't seem to be worthwhile increasing it more even though the transformer taps could be changed to raise it further. At 2000 volts and 400 mils plate current, the modulator provides good positive peaks and clean audio. 500 mils of plate current was tried for a full kilowatt of input but the modulator started to lose a little on the positive peaks. It was concluded that 400 mils would be the best place to run it and the extra 200 watts would not be noticed on the receiving end.

CLEANUP--While the conversion to 160 meters was going on, the protective coating of filth and dirt was scrubbed off bit by bit with 409 cleaner and a big load of paper towels. The remote control and half-hot standby conversion had resulted in a bunch of holes in the front panel. The holes were filled with auto body filler and the paint was matched with Testors Model Master paint from the local model shop. The front panel is grey and there are thousands of shades of grey. A careful mixing of greys finally resulted in a good match. This matching took some time and effort, and is not easy. The antenna current meter was replaced somewhere along the line with one that didn't match and was much too high on its current range. An almost perfect match was finally found at a hamfest in a junkbox, and the current range was perfect. One of the tuning knobs was missing, and a match was found in another hamfest junkbox.

VFO--A Hewlett-Packard 5100 frequency synthesizer was found in a pile of odds and ends at a hamfest. This little gem goes from audio to 50 MHz in .01 Hz steps, and is very stable and clean. This provided the perfect opportunity to have the latest state-of-the-art in a synthesized transmitter (rice box appliance operators, eat your heart out (Don K4KYV; my apologies for using that awful trite phrase)). It gives an output of 1 volt, and a transistor amplifier was built to give the 20 volts P-P to the 807. A CB rig output transistor was pressed into service here. This is working out just fine, and the accuracy and stability match the rest of the rig. It was one of those lucky finds, the price was right and just the icing on an already fine rig.

AUDIO--The modulator was left unchanged in the BC-250GY. Unlike the normal ham rig, the modulator will overmodulate like crazy if the audio input is too high. The Viking IIs and the like have a primary to secondary turns ratio that puts 100% negative peaks at the point where the modulator tubes are just about out of any further plate voltage swing. This makes these rigs rather forgiving about too much audio. The BC-250GY almost requires an audio limiter to control peaks so gross overmodulation and destruction don't occur. I already had a CBS Audimax audio compressor and CBS Volumax audio limiter. These were used from the outset and do a fine job. I doubt that the rig could be used without something like this. The alternative is to watch a VU meter constantly, which would be a pain and still not do as good a job. The microphone is an Electrovoice 664 into an old RCA audio board used for remote broadcasts such as basketball games and the like. The RCA board does not have a wide dynamic range to match the performance of the CBS units and can cause some hiss on low level audio when the audio compressor increases the gain near maximum. I hope to replace the RCA board with a homebrew board that will give better signal to noise performance. Otherwise, the audio setup is just fine and no changes are planned.

CONCLUSION--The Gates BC-250GY has turned out to be a solid 800 watt AM rig for 160 meters. It has excellent audio and elicits many good comments on the audio quality, even though it is unmodified. It is big, but it has a look and feel unlike the present day rice box ham gear and most earlier ham gear also. If you have the space and desire for such a rig, it may be as close as your telephone. If a station acts rude to you, as some very likely will, just go on to the next one on the list. As I experienced, you may find one but the deal can sour before it is consummated.

These people are businessmen, and they are not inclined to follow through on a deal just because they may have said they would do something. They will only follow through if it still seems good to them after they have thought it over a while. If they make an offer you want, don't let them think it over. Give them the money and get the rig out as fast as you can. Make it as easy as possible on them for you to get the rig. My opening offer was $5 per 100 pounds, and I would bring in a crew and make it go away without their having to touch it. If they called in a scrap dealer, they would have to load it on a truck and deliver it to the scrap yard and then about all they would get is $5 per 100 pounds.


The N9FOY One Kilowatt Transmitter
by Steve Konopka, N9FOY

In early July of 1986, after having spent my first six months as an Amateur having fun running strictly AM with relatively low power, I developed a serious desire to both upgrade to full legal input power and build my own 1 KW plate modulated transmitter.

Having both a finite amount of time to budget toward the hobby and a respect for well-established methods, I opted to design the rig around well-proven circuitry of rather conventional nature.

In budgeting for the various components which had to be purchased, I applied the philosophy that since I have chosen to operate both exclusively and effectively on AM phone, I should expect no less of an investment than that of a serious operator of some other mode.

The N9FOY kilowatt employs a type 5762 external anode power triode, which has a 3 KW plate dissipation rating. This was obtained as a pullout from a radio station, This tube type is also used in older TV transmitters, and it may be interesting to note that it is rebuildable upon wearing out. The 5762 serves as my class C final, requiring 80 watts of drive which is supplied by three 807's in parallel. Modulation linearity was perfected by applying 75 percent modulation to the driver stage. The transmitter's RF output network consists of a double pi section, employing a combination of variable-vacuum and fixed mica capacitors. The final plate is loaded to 370 mA at 2700 volts. RF excitation for 160 meter operation is provided by a home-made VFO which consists of a modified 1960's vintage Chevrolet car radio, wherin advantage was taken of the permeability-tuned local oscillator section. On 80 meters, I excite the rig with the driver stage of a National NCX-5.

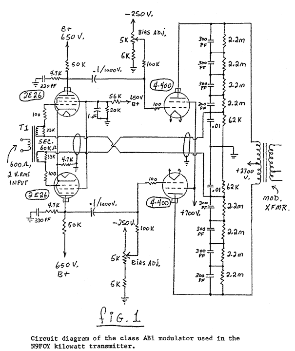
While I hadn't made a firm decision on the choice of a modulator even after construction of the transmitter was well under way, I believe I was subconciously certain all along as to the winning candidate, that being class AB1 4-400C's, driven by push-pull 2E26's. This circuit, illustrated in fig. 1, has proven its excellence in the field for many years in a top-of-the-line broadcast rig. 10 dB of inverse feedback provides a large contribution to its high-specification performance.

Fig 1 - Schematic of N9FOY modulator

The modulation transformer is a Peter Dahl Co. 1 KW "universal", which matches the 4-400C's 11 K-ohm plate-to-plate impedance to a 7300 ohm class C load. Incidentally, we're not really talking "big iron" here--it has a hypersil core, resulting in both smaller size and less weight than most of the older 500-watters I've seen. A 30 Henry modulation reactor was obtained in the form of a fried hulk from a broadcast station. My patience was admittedly well tested during the process of counting the original wire turns and rewinding the coil in the absence of any special equipment.

The transmitter was completed in March of 1987. Prior to putting it on the air, I elected to make substantial performance tests, ranging from final stage plate efficiency to audio harmonic distortion. Since the theoretical average power output under 100 percent sine-wave modulation would be 1125 watts, I was faced with the need for a hefty dummy load having a continuous duty rating. This was easily satisfied by placing a simple L network ahead of an old electric stove burner. VSWR increased only slightly with the coffee pot in place!

After a few days of testing and de-bugging several relatively minor problems, I commenced with on-air operations. The rig has been providing me with many pleasurable contacts ever since.


EXCHANGE

FOR SALE OR GIVE AWAY: 4 barns full of radio, photography and automotive parts and equipment.

WANTED: Military Transmitters T-195/GRC-19 and a T-61/GRC-14. Also military receiver R-392/URR.

WANTED: Info from someone on how to re-work "PLL chips" in CB's to convert them to 10 mtrs. Have converted xtal rigs but don't know much about chips except they blow very easily. Anyone who knows how to "jump" a chip, I'd like to know also, if you'll share that info. ALSO WANTED: parts for 32V1 Collins Xmtr, specifically a "low voltage" transformer; would also be interested in a partsonly xmtr if the price is right and it has what I need.

WANTED: U.T.C. transformers LS-49 and LS-18. Chicago Transformer BD-2. 1935 issues of IRE Proceedings. Pre-1950 and pre-WWII U.T.C. catalogues (photocopies ok). Radio'sMaster 1st thru 18th editions. 1933 issues of Radio.

FOR SALE: Viking I, with Heathkit VFO, complete with cabinet and Manual, $100 plus shipping. Viking II, with Viking VFO and Manual, $150 plus shipping. National RAS receiver and power supply, rack mount, but complete with covers, needs work, $50 plus shipping. Prefer local pickup of all items.

FOR SALE: Type 805 tubes new boxed $20 each. 813 $20 ea. 809 $10 ea. 807 $3 ea. 1625 $2 ea. Miniature tubes $1 ea. Octals & loctals $2 ea. Large air variables, modulation transformers, power transformers, inquire. Levy (the tube man).

WANTED: Meissner Signal Shifter, model 9-1077/80 (plug-in coil type) in good condx.

WANTED: Hallicrafters SX-88 rcvr and HT-20, clean, but need not work. Older Collins transmitters manufactured pre-WWII. Blank 19" aluminum panels 14" or higher. Extremely nice Central Electronics 20A for private collection.


This is the AM PRESS:

An amateur radio publication dedicated to Amplitude Modulation.

This is the AM EXCHANGE:

Offering FREE ADVERTISING to enhance the availability of AM equipment and parts.

DISPLAY ADVERTISING: Rates upon request.

Edited and published by Donald Chester, K4KYV

NOTICE: The purpose of this publication is the advancement of Amplitude Modulation in the Amateur Radio Service, and there is no pecuniary Interest. Therefore, permission is hereby expressed for the use of material contained herein without permission of the publisher, with the exception of specifically copyrighted articles, provided that The AM Press/Exchange is properly credited.