Issue No. 72    June, 1989
Scanned and OCR'ed by Bob "Bacon" Bruhns WA3WDR

They're Screwing Up The Fleamarkets!

Even though most HF transceivers nowadays are manufactured to include the AM mode, and some of these rigs are capable of near broadcast quality when properly adjusted and used with a good microphone, the majority of serious AMers continue to operate with equipment not readily available from commercial equipment dealers. Many AM operators prefer to build their own transmitters from scratch, and most of today's AM stations include a substantial amount of older amateur, or converted military and commercial, transmitters and receivers. Most older gear is refurbished and often modified before being put on the air. Building homebrew equipment and converting or repairing older equipment require components not available through the usual equipment channels. Although component needs are sometimes met through surplus dealers like Fair Radio, much of the material used by AMers can be found only at hamfest flea markets. Unfortunately, the organizers of hamfests seem to be less and less concerned about the success of the fleamarkets at these events.

A typical case in point, a scenario that is increasingly reported from all over the country, was the Atlanta hamfest/ARRL convention of two years ago. The emphasis was on the convention aspect of the hamfest; it was held in a large, plush, air-conditioned convention hall in downtown Atlanta. The flea market was huge, but it was all indoors, and there was no convenient parking nearby. It cost several dollars to use the multi-level parking garage, which was located a considerable distance from the loading dock leading to the flea market area. Getting large, heavy equipment in and out of the fleamarket was a real hassle. Spring loaded doors had to be propped or held open while you struggled to move heavy stuff through them; this was possible only after you had convinced the security guard that you were indeed loading or unloading equipment and not trying to sneak in without a ticket or park illegally.

Recently, another hamfest in Georgia long noted for its outdoor fleamarket was reported to have moved its fleamarket indoors this year. The large parking area adjacent to the hamfest site, which had contained the outdoor flea market of years past was still open, but was designated for parking only, and no equipment trading was allowed from parked vehicles. All fleamarket activity had to be moved inside.

At still another hamfest site, the fleamarket was held outdoors as usual, but someone on the hamfest committee got the brilliant idea that it was not necessary to set aside a specific fleamarket area separate from general parking. As the result, the fleamarket and general parking were mixed, with vendors scattered throughout a multi-acre parking lot. In order to browse through the entire fleamarket, the buyer was forced to literally walk miles, past hundreds of empty cars along the way in this parking lot where maybe one parking space in twenty was occupied by a vendor.

Even the famous Dayton Hamvention fleamarket, which may be the biggest in the world, has not escaped tampering. This year, the huge, paved parking lot in front of the HARA Arena was closed to general admission; this entire area was reserved for exhibitors and commercial dealers who set up inside the arena. General parking was moved to unpaved areas to the side and rear of the expanded fleamarket area. This worked fine on Friday, the first day, when it was possible to park within feet of the fleamarket gate (if you arrived early).

The disaster occurred Friday night when heavy rains turned the unpaved parking areas into one big slushy mud field. On Saturday, the big day at Dayton, parking was available only at a shopping mall parking lot some three miles away, with chartered city busses running shuttle service between the mall and the hamfest. They would not even let you temporarily park near the fleamarket gate long enough to load up equipment. Absurd. Imagine hauling a Globe King or kilowatt modulation transformer on a city bus! People traveled hundreds, even thousands of miles to browse through the Dayton fleamarket, to be told, upon arrival, "Sorry, you can't park close enough to the fleamarket to carry anything away. You'll have to park downtown and take a bus to the hamfest!

Quote of the Month

"Most publishers and even the ARRL appear to promote more and more sophistication in our equipment, but then sponsor increasingly simple activities in which to use it."

- Paul Swearingen, W9PJF

From a letter to the editor in Ham Radio magazine. See page 6, July 89.

AM Tidbits
WA1MTZ

Yes friends, it's flea market time again! This concern is about those OIL FILLED items ..... transformers, capacitors, even dummy loads in that famous gallon can! Ask what it's filled with! If the answer is transformer oil, as was the popular thing to do years ago, my advice is to beware! PCB oil abounds! This was before the dangers to the environment and your health were known... Since 1979, PCB-containing items were banned (except for the military). As long as the stuff is not leaking around the insulators and you do not come in contact with this substance, you should be ok.

If an old metal capacitor should ever blow in any equipment (rare), leave the area as breathing the vapor is cancerous! A few months ago a Baltimore supplier was caught reselling 20 year old caps - for the going rate! ...loaded with PCB. This is quite illegal.

But for trade or sale it should not be a problem among HAMS at flea mkts. Some of the most common fluid trade names are printed right on the label. Here is a list: Apirolio, Aroclor, Asbestol, Askarel, Chlorextol, Chlorinol, Clophen, Clorphon, Diaclor DK, Dykanol, EEC18, Elemex, Eucarel, Fenclor, Hyvol, Inclor, Inerteen, Kanechlor, No-flamol, Non-Flammable Liquid, Phenoclor, Pyralene, Pydraul, Pyranol, Sal-T-Kul, Santotherm FR, Santovac solvol and Therminol... PCB's were used for their superior dielectric and heat transfer properties.

Looking over this list it seems that I have 5 of these types in service around here. If found in a leaky condition it is advised not to allow oil to touch your skin. The EPA sez to call a licensed hazardous waste handler for disposal. Large oil filled mod xfmrs that contain oil are filled with the stuff. Never attempt to open one of these up as the oil will come out. Inspect those surplus caps well. Any leaks, and you can forget them.

73, 'MTZ

Silence Those Clunking Relays
by Don Chester, K4KYV

My homebrew kilowatt AM transmitter uses a total of seven relays to change over all the necessary circuits from receive to transmit. This function is accomplished using a push-to-talk system which includes a low voltage power supply to operate the 24 volt DC relays. I have always preferred DC relays because (1) they don't buzz and chatter with 60 Hz vibration, and (2) they are cheap and plentiful from military equipment.

The transmitter is built in a steel cabinet, which makes an excellent sounding board to amplify any racket generated by mechanical vibration of the components. With all these relays, including the two 30-amp contactors for the plate transformers, actuated simultaneously to place the transmitter into transmit function, a very loud, annoying and sometimes startling "clang" occurs when the transmit switch is pushed.

I recently solved this problem by mechanically isolating all relays from the metal cabinet, using small rubber shock mounts. These devices are 9/16" in diameter, 1/2" thick, and metal inserts in each end are threaded to take a size 8-32 screw.

Diagram of shock mount

Some of my relays were already mounted with 8-32 screws, so it was very easy to install the shock mounts. Others were mounted with 6-32 screws, and mounting holes in the cabinet and some of the relays had to be enlarged. I used an electric drill to do this, which was a very delicate operation, since extreme care had to be taken to avoid damaging anything with the drill or throwing metal particles into the circuitry and possibly causing a short-circuit with disasterous results. I used a "drop cloth" fabricated by cutting open a large size plastic garbage bag, and securing the plastic sheet in place with masking tape.

Once the shock mounts were installed, the transmitter was tested. I was amazed at how much more pleasant it is to operate this transmitter now that a soft "click" is heard when the rig is keyed, instead of a loud metallic "clank."

These shock mounts are available from Marlin P. Jones & Assoc., P.O. Box 12685, Lake Park, FL 33403-0685, tel. (407) 848-8236. They come in sets of four for $2 a set, 1/3 lb. shipping weight per set. They are listed as part number HD-1511 B. If your order is for less than $10, include $1 for the handling charge. The company also collects Florida sales tax on all orders, which is 6% of the cost of the merchandise ordered. Specify in your order that this item is from page 34 of catalogue 89-1. All orders are shipped UPS (be sure to include shipping cost). An employee of the company told me that they have over 4,000 of these shock mounts in stock, so they should be available for some time to come.

I am very happy with this modification of my transmitter. It was well worth the few dollars spent for the shock mounts and the several hours spent installing them. I have just ordered a duplicate set which I plan to seal in an airtight container and keep in storage, in case the rubber eventually deteriorates with age in the heated environment which exists inside a medium power radio transmitter.

Small Computer Fans For AM Gear
by Walt Hutchens, KJ4KV

The growing volume of scrap computer equipment has made a minor bonanza available to the AMer wanting to keep that precious gear cool, in the form of many (used) three to five inch square fans. You can find boxes of these at almost every fleamarket at prices from $1.00 up. But like anything else, they're only "bargains" if usable.

Check the voltage first -- there are many 208 volt, 28 volt DC, and 115 volt three phase 400 cps fans out there, looking just like the 115V 60 cps unit you probably want! There are also a few 115/60 fans which require a capacitor; these seem always to be plainly marked.

Generally speaking, the greater the number of blades the more air will be moved and the higher the noise level. For the same number of blades, wide, contoured blades are quieter than narrow straight ones.

Usually you can easily spot used fans by the dirt, cut leads, etc. -- but watch for sellers who clean used fans and seal them in plastic. Check for worn out bearings -- if you can wobble the rotor on the shaft by much more than a new fan, don't even take it "for free" as it will be noisy or worse. Slightly dry bearings (rotor turns but stops in less than five seconds when spun with a finger) may be repairable if you can see a snap ring or screws which will let you clean and lube them. When you get it home, do so, using 3-in-1 or (better yet) lighter oil.

Most of these fans are not well balanced; if you will be able to hear yours then a few minutes effort to improve this may reduce the low frequency (rotor RPM) rumble considerably. Mark a blade with a scratch or nail polish. Hold the fan in your hand, power it up (taking care not to contact the 115 volt leads!) and note the vibration level.

Now stick a piece of masking tape as large as there is room for (say 1" square) on the end of the marked blade -- two layers is even better. Move this patch to other blades in (roughly) 90 degree steps, noting the effect on the vibration level. When you find the position which improves things most, move the tape in one blade steps to locate the optimum. Then, adjust the amount of tape until you are satisfied. Finally, clip pieces from the opposite blade, removing the tape in steps, to make the job permanent.

These fans are designed to deliver 15 to 65 cfm at very little back pressure. They will do the job for almost any small tube-type equipment provided that the case is well ventilated, you aren't trying to make hot air go down, and you are not pressurizing a closed chassis to force air through an air system socket and chimney. If you have one of these three cases, stronger measures should be used. There are small (flat) centrifugal fans which can be used when small volumes of air are needed at somewhat higher pressures; I am using one of these to cool three 4CX250Bs with good results.

When you need upwards of 50 cfm and the pressure is high -- my problem was a congested 28 volt DC power supply -- there's another (cheap) approach. Find two (axial) fans of the same size but with opposite rotation -- that is, if one would blow air in your face when spinning clockwise, the other should blow at you with CCW rotation. Get a pair with different numbers of blades which aren't multiples -- for example, don't use two five blade fans together or a three and a six, as such combinations are very noisy. Stack these (I put one inside the chassis and the other outside) so the airflow direction is the same for both. Make sure the rotors will clear each other when assembled in this manner. This is a "poor ham's" vaneaxial blower, and you'll be amazed at what it can do!

The directions of rotation must be opposite -- if they spin in the same direction you will get hardly any more air than with a single fan.

AM PROMO ARTICLE

EDITOR'S NOTE: On the following pages is an article introducing AM, by Rick Ferranti, WA6NCX. This is the same article that was passed out in pamphlet form at the Dayton Hamvention. Many readers may think that printing an article of this nature in The AM Press/Exchange is like preaching to the converted. Yet, it may give readers some ideas on how they could formulate their own AM promotions at local clubs and hamfests. You may simply remove this article from the rest of the newsletter by carefully detaching the middle sheet (suggestion: bend up the staples and remove the sheet). You will have in your hands a pamphlet to pass around at your next local ham gathering. On the last page is a photo of K7YIR and some of his equipment, with a written description. This may impress some of the "new breed" amateurs who have never seen a transmitter larger than an attache case, or ever heard of a ham rig not designed to be placed on top of the operating table. Better still, detach this pamphlet and take it to a local print shop and have enough copies made to give one to every member of the ham group of your choice.

The Lure of Amplitude Modulation:
A Relaxing Change from Quack Quack SSB and Packet Racket
Rick Ferranti WA6NCX

Introduction

What's the difference between just communicating with another ham, or actually enjoying the contact? Between plugging in a kilobuck solid-state computerized rice-radio, or really operating an inexpensive 30- or 50-year-old classic transmitter and receiver, with all their tuning and loading controls, crystal phasing, drifting, heat, and wonderful smells? Between restricted, sterile telephone-quality voices (or worse, little characters appearing impersonally on a computer terminal), or full-quieting, full-blown good fidelity audio, so clear that you can actually recognize who you've QSO'd just by hearing their voice at a flea market?

The difference is the modulation mode - not SSB or Packet or other modern "advanced communication" methods, but full-carrier double-sideband amplitude modulation, otherwise known as AM. Its characteristics of fine voice fidelity, noise quieting, and non-critical tuning give it a classic appeal. Simple, inexpensive equipment is all that's needed. And there's romance in hearing the static break through a slowly fading carrier while you fiddle to get the last bit of oomph out of your receiver, until the signal builds up again and the QSO continues. Then it's your turn to transmit, with a clunk of several relays and a long, relaxed transmission, so unlike the hyperspace machine-gun contest-like exchanges of the SSB crowd.

I have held a fascination for AM operation for years, and have owned or operated much of the classic equipment from the 30's to 50's. More and more I seem attracted by radios that glow in the dark and don't slide off the operating table when I plug in a set of headphones! If you'd like a change from the rat-race tinny sound of SSB and the digital rf garbage, consider switching to a mode as old as radio itself. Here are some of my impressions of the equipment and operating practices of the group using Amplitude Modulation.

Receivers

There are many fine AM receivers, some reaching back more than 50 years. The National HRO and Hammarlund Super-Pro are excellent examples, both having been designed in the early 1930's. My current favorite is a National NC-100X from 1936, a sort of streamlined HRO with built-in coil sets and power supply. Waiting in the wings for my restoration in an RCA ACR-175, another great communications receiver from the mid-thirties. Good quality 1940's and 1950's descendants of these receivers, like the HQ-129X or the NC-300, are also favorites of the AM operator. I'd stay away from lesser makes like Hallicrafters, unless you latch onto their top-of-the-line models like the SX-28. Whatever you do, don't try to use a sideband transceiver as an AM receiver - the narrow SSB filter kills all the nice audio fidelity. Quality vintage receivers are often sold for $50 - $100 at flea markets; my NC-100X was simply given to me!

Transmitters

Many AMers pride themselves on their homebrew transmitters, often with audio fidelity rivaling that of a shortwave broadcast station. (No, I'm not interested in arguments about "wasting bandwidth" by using AM. The same argument says we are wasting bandwidth on SSB - we should all be on CW or narrow-shift RTTY. Anyway, if you think about it, all recreational use of amateur radio is "wasting bandwidth.") Some homebrew rigs are truly amazing - a 4-1000 modulated by a pair of 4-400's, for example, or one Northeast ham who runs a homebrew kilowatt pulse-duration modulated transmitter.

But that's all a little exotic. Most AMers run classic commercial rigs, all the way from the beautiful kilowatt Collins KW-1 to the minuscule Gonset Commander. Several Collins KW-1 transmitters are quite alive and on the air; three hams I can think of who use theirs regularly are K1MAN in Maine, W8AHB in Michigan, and KW1I (really, that's his call) in New Hampshire. The KW-1 is pretty much in a class by itself as far as quality and sheer power; the Johnson Desk Kilowatt comes next, and then the relatively cut-rate Globe King 500 series. Lots of Johnson Valiants, Vikings, Heath DX-100's, and even surplus behemoths like the BC-610 also show up. A favorite for fine quality modulation, without breaking the back or the electric meter, is the Johnson Ranger. It runs about 50-60 watts output with built-in VFO, covering 160-10 meters. Lots and lots of these are heard with excellent results. I've contacted AMers all over the country with mine (and yes, I got it for free too!)

Listening In

As you may gather, there are pockets of AM activity all over the country, though most of what I monitor originates east of the Rockies. Typical frequencies used by the AM crowd are 1885, 1945, 3860-3890, 7290-7295, 14286, and 29000-29100 KHz. The 20 meter frequency comes alive at 9 pm here in the East; in California listen at 6 pm to hear some really big signals from all over the U.S. The 10 meter "AM window" is full of signals when the band is open; it's great for low-power work, even with converted AM CB sets. (I recently had a long QSO with a Texan running a converted CB at 2 watts output - his signals were strong enough to close the tuning eye on my NC-100X and quiet the background noise, and I was 20 over 9 down there with the Johnson Ranger from my QTH near Boston).

More Information

If you're interested in learning more about the AM scene in the country, a very nice monthly 16-page newsletter is the AM Press/Exchange, Route 1, Box 281, Woodlawn, Tenn. 37191, published by Don Chester K4KYV. A year's subscription is only $10, and even if you aren't a subscriber you can still run free AM-related want/sell ads every month. Good place to try and find a KW-1!

Personal Beginnings

I got interested in amateur radio over 20 years ago, listening with my 4-tube Knight-Kit "Star Roamer" (which I still have) to a 160 meter AM net called the "Igeroties" (the name is reputed to mean "head hunter" in Swahili). It was run by Red K6YT (then W6QWF), and its members comprised a fascinating collection of characters, including W6EAJ, who lived on the side of a mountain somewhere in far Northern California (Horse Mountain Ridge), and whose house and station were powered by a water wheel. When I got licensed in the early 70's I would chat with these folks using an old DX-100 or a surplus TCS transmitter. Since I moved from the San Francisco area to the East Coast some 13 years ago, I've often wondered whatever happened to the infamous "Igeroties." Now I listen to Eastern 160 meter AM activities, including the "Grey Hair" Net on 1945 KHz. And, the Society for the Promotion of Amplitude Modulation (SPAM) has an 80 meter AM net as well.

Conclusion

Even if you think all this is quite antiquated and doesn't meet current notions of high-technology, you'll have to admit that the clean, opulent tones of a well-modulated amateur AM phone station sound just wonderful, especially when they emanate from a classic receiver of ham radio's golden age. You can participate in that quality and enjoyment with little expense and a bit of digging, and join the fun of operating with Amplitude Modulation.

MEET THE AMers

K7YIR

Patrick L. Person is shown with his 1KW Collins military transmitter T440/FRT24. It uses a 4-1000 in the final, modulated by a pair of 4-400A's. Coverage is 2-30 mhz and features the famous Collins Autotune. Visible in the background, in front of Patrick, is a 1939 homebrew transmitter using T55's in the final. The rig visible to the lower right is a Collins KWS-1. K7YIR reports having between fifty and seventy radios in his collection and is still looking for more!

-TNX W6RNC

Making AM The Great New Guy On The Block

HOW YOU CAN GREATLY OVERCOME
POWER LIMITATIONS ON AM

Copyrighted, 1989 by George A. H. Bonadio, W2WLR
Watertown, NY 13601-3829

Part 7

THE BEST LOW FREQUENCY ANTENNA TO FIT YOUR LOT

In the 1950s and 1960s, I was looking for broadbandedness. Then I was looking for pattern switching, without retuning. I found those. I also found reduced fading depth (incoming spontaneous reports), switching to avoid fading and extreme DX enhancement, beyond 5,000 miles. Now you can have these too.

THE SQUARE DIAGONAL (acreage counts)

The name comes from this: draw a square with dotted lines. Now, with solid lines, draw the diagonals across, from opposite corners. These lines are crossed at exactly 90 degrees. From the center, the feed point, there are four identical elements. The optimum element lengths are anything over one foot per meter of wavelength, but less does work according to size and takes more tuning.

Electric fence wire is cheap, and it shears off sleet. It is strong and inconspicuous at #18 wire size. You need protective goggles (beyond eyeglasses) when handling it. Always bend raw ends into a "9" safety loop before letting go of an end.

Do not carelessly release the unused end of a roll of this wire. It will snag and take all day to unwind. Any kink in the wire, when unkinked, has crystallized the wire. It will rust and break there. Discard that piece. Remember to keep all children and curious away.

WHAT YOU GET

Keep reading if you want an antenna with the most signal collection area, the most diversity against fading possible, with four DX patterns, smooth tuning and loading on all the spectrum higher than its lowest frequency, all fitted to your antenna area. I hope that you can enjoy a Bonadio Square Diagonal Antenna.

BALANCE

The balance of element lengths, including the ties onto insulators and any relay is extremely critical in order to have identical load resistance and phase reactance on each fed end of all 4 elements. Cut, tie and solder on a rack, in the field, as in Figure 1.

Generally, if each of the four elements are under 85 feet on a leg, only four supports are needed. If over 100 feet, a fifth support may be needed at the center. However, elements may extend for great distances if supported every 200 feet.

As shown earlier in this series, ground shunt wires are very desirable, making +2dB, or 60% more signal strength.

MORE PICTURES

Figure 2 shows an unswitched version using eight insulators and a large washer from a hardware store.

A measurement from any pole should be identical to the two adjacent pole's distance. Tested from each pole, this will prove the perfect square.

Fed with twinlead, the jumper wires must be equal in all four paths. I used the Belden KW Twinlead as in Figure 3, with a screw through the two layers of plastic, covered by layers of tape. It was still good after 13 years.

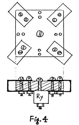
Figure 4 shows the 1/2" thick Plexiglass 5" x 5" insulator that I had made up with stainless steel hardware. I now use two SPDT vacuum relays with my 1,500 watts PEP there.

Figure 5 is the electrical circuit for a 90 degree pattern change relay. Pay attention to the requirement of all four paths needing to be identical. In this drawing, note the extra "S" curves on paths B & D to equal A & C through the relay. Use a d.c. relay, preferably of over 25V coil voltage.

Figure 6 is of a large system and if switched it stays in tune at 1:1, but needs a careful layout.

WHAT TO DO

As all of its standing waves are modest, so modest insulators are satisfactory.

A tuner is required such as shown earlier in this series, because this antenna will excellently radiate all harmonics which reach it. Also, for receiving, a tuner will usually eliminate all image signals that could pour in, this being a continuous spectrum antenna.

On its shorter wavelengths, it looks similar to a dummy load of 100 ohms with a reactance of less than 10 ohms (a very low figure). Hence, moving across a band often does not require retuning.

My original (expired patents) Bonadio Square Diagonal Antenna had elements of 58 feet each in an 80 foot square. It was, in spite of its small size, "excellent" on 40 meters, "very good" on 75 and "good" on 160.

Because this system has such low reactance, the wide range of L & C values shown in a tuner in this AM/PE series, are not needed. However, the slidable or swinging link system shown therein, is excellent in harmonic and spurious reduction, in and out.

HARD TO BELIEVE

"Computer Programs" to calculate antenna results will not predict this system. The separation of 90 degrees does prevent mutual effects among those elements.

This ideal two dimensional radiation (broadside) does not bounce from the 360 degree earth, at low angles, 180 degrees from this 2D radiated signal. Hence, extremely low angle radiation persists, in and out - and DX, beyond 5,000 miles, will often tell you (if you ask) that you are the strongest signal from your area, at this time. This is because your (saved) very low angle radiation makes fewer hops to go over 5,000 miles, and there is less loss per hop at low angle reflections. Both of these good effects add up to less losses beyond 5,000 miles. You can get unbelievable reports - but from the other half of the world, not near in, and especially on "poor" days.

KNOW WHAT IT DOES

If you can put one of these up and still keep your present system, compare them. Run them separately tuned on the same band and switch the coax feed to each tuner. I compared my 58 foot (in an 82 foot square) version, at the same elevation, with my 160 foot long extended dipole, on 75 meters. Only one station, 150 miles away, always was favored by the old antenna, but everyone else preferred (and my receiver confirmed) my Bonadio Square Diagonal Antenna.

HOW MUCH, ON AN AVERAGE

I estimate the average advantage at both transmitting and receiving (which big bucks equipment can't do) at +6dB (400% power), and with the choice of the better pattern by relay, at an average of +9dB (800% power), a worthwhile investment.

It's time to get your paper and pencil out.

open forum

Editors AM P/X:

Bill Kleronomos, KD0HG, wrote to this OPEN FORUM (May '89, p.12) just after he "completed reading the article" and before he tried any PRAGMATIC TESTING to see if the theory books could be wrong.

About two decades ago this same procedure happened. Letters denouncing my demonstrations came in from good and great engineers who did not try my demonstrations, and other letters came in from hams who did try my demonstrations, made changes and were happier. Reread my text where, on 160 meters, my contact confirmed my -10 dB difference between circuits.

Because the place to deliver the power is at the far end of your balanced, "non-radiating" feeders, you had better try a bulb out there, not back at the tuner, Bill, where you do not connect your antenna radiating elements. Even the FCC now limits us to "x" watts PEP, DELIVERED TO THE RADIATING ELEMENTS, not back at the start of the feeders, or at the tuner.

Bill, you have a proper and good reason to ask, "Where does the power go if it does not show up at the bulb (on some bands)?" Let's look. Bill, if a properly designed tube generator can furnish only 100 watts, maximum, into a pure 50 ohm, 1:1, dummy load; and then we put into that load a common series (feeder) reactance of 500 ohms, can that generator then still develop 100 watts of real power, and deliver 100 watts into that antenna load?

Can we find out, Bill, that the 100 watt power capability is now not fully utilized because some ("wattless-reactance-power") diminishing effect demands either wattless-voltage or else wattless-current (but not both). This is "to satisfy the reactance demands so that the resistive load can consume its remaining available voltage and available wattage," from the remaining available voltage and remaining available current from the limited output generator. Reactances do not consume power, but they can seriously reduce power delivery.

I think, Bill, that we (like the Utilities) can put a "proper reactance" into the feeder, in the "dim bulb (at the end of the line) demonstration," as you mentioned, and, with much fussing, bring the bulb up to proper brightness. But, then, what we will have proven, if we can, is that the tuner was "incomplete." It needs, on about half of the loads of opportunity, an impractical outboard reactance of unforcastable value. It is a very clumsy solution.

The "complete" tuners that I showed will always be able to light the bulb, at the far end of the mismatched feeders, almost as brightly as back at the tuner. This is because I use all of the reactance of the feeders, and the antenna, in resonating my tuner, where I bring it to total obliteration, a pure resistance.

- George A. H. Bonadio, W2WLR





Editor, AM P/X:

I have never been treated with such disrespect in my twenty years of hamming as I have from the AMers. I'm not just talking of one or two - I'm talking about each one! So I'm selling out. You folks promote AM, and then when a new fella (like myself) comes along ... someone who has dreamed of AMing since his grade school years ... you folks treat him like dirt! Nothing personal - I'm talking of the majority.

- Bill Lauterbach, WD8DWM





Editor, AM Press/Exchange:

In the April issue, OPEN FORUM, I said that I had tested the Bonadio Earth Shunt Wire and found no improvement in signal strength. In the May issue, Mr. Bonadio admits that the effectiveness of the BESW cannot be verified by any simple test. He says one must take a reading, then go out and remove the BESW, then take another reading. This procedure doesn't permit precise scientific observations. How does he know that propagation conditions didn't change while he was removing the BESW? Before claiming that the BESW gives 2 dB gain, it seems he should show details of his experimental procedure, antenna used, frequencies, time, calibration methods, soil conductivity, etc. To establish a scientific fact requires being able to repeat the experiment at will, and other people must be able to do so as well.

An even more incredible claim by Mr. Bonadio is his discovery of Corner Blockage of Signals - see Jan '89 issue. Apparently, electrons have a tough time trying to negotiate sharp turns in antenna wires. By installing a Bonadio Corner Jumper, the problem is neatly solved. Mr. Bonadio said his friend Jack tried it on a 40m antenna confined on a very small lot and it worked. Mr. Bonadio states that, based on Jack's enthusiasm, there was about 10 dB improvement. This is so amazing that I must pass the information on to the ARRL so it can be included in the next edition of the Antenna Book.

In the April issue, Mr. Bonadio says he had trouble with his Johnson Matchbox. The trouble occurs when he uses certain lengths of feedline between the matchbox and the load. In one of his tests he used a 150 watt lamp. If he checks, he will probably find that the troublesome length of feedline is an odd multiple of a quarter-wavelength. The input impedance of such a line is Z0²/ZL -- see ARRL Antenna Book, 14th Ed. 1982, p. 3-15. Suppose you are using a 600 ohm line and your 150 watt lamp looks like 90 ohms. The input end of the line will look like (600)²/ 90 = 4000 ohms. My Kenwood AT-200 tuner will handle loads of 10-500 ohms. I suspect it and most other commercial tuners would have a problem matching the rig to this line. Now, most hams don't use their rig to light bulbs. We use an antenna which may have some reactance. If the feedline is an odd-multiple of 1/8 wavelength, the reactance at the sending end of the feedline may exceed the tuning range of the antenna coupler -- see page 4-3 op. cit. The ARRL Antenna Book shows how this may be overcome by simply connecting the proper reactance either across or in series with the sending end of the line. With my antenna, I shunt the feedline with 1uH on 20M and with 25pF on 10M. On 15M, I connect 2uH in series.

George, I hope when you dropped your ARRL membership, you kept your ARRL Antenna Book. It has all the answers!

-Bob Dennison, W2HBE





EDITOR'S NOTE: According to the E. F. Johnson advertisement in the 1957 ARRL Handbook, the Viking kilowatt Matchbox handles unbalanced line impedances from 50 to 1200 ohms and balanced line impedances from 50 to 2000 ohms. The smaller 275 watt version matches unbalanced or single wire antennas from 25 to 3000 ohms, and balanced antennas from 25 to 1250 ohms. These tuners use coils and capacitors in balanced and unbalanced configurations. Modern antenna tuners use simple L- and T- networks, unbalanced throughout, and attempt to match balanced lines by coupling the unbalanced output through toroidal bal-uns with ferromagnetic care material. This works satisfactorily if the balanced line presents a near resistive load with little reactance to the bal-un. Trouble sometimes occurs when the balanced load is highly reactive. The bal-un may heat up, arc over from excessive RF voltage, and the efficiency is usually terrible.

From my experience, I have never had problems with odd quarter wave lines, but odd eighth wave lines are another story. I once successfully got a match by tapping down on the coil, but the 7000 volt split stator tuning capacitor would arc over whenever I attempted to modulate 100 watts of carrier near 100 per cent! I have always had good results with the old fashioned series or parallel tuned circuit using a split stator capacitor and link coupling to the coil. This arrangement will tune out a certain amount of reactance, but I never was too successful tapping down the coil. On my 160-m tuner, I use a switching arrangement to add another eighth wavelength of feedline (approx. 60 ft.) to the shortened dipole, and this works great.

-K4KYV

EXCHANGE
(Contact info deleted; these are old ads.)

FOR SALE: Hammarlund HQ129X, very good, partially retubed, $50 plus shipping. Heathkit DX-35 AM/CW transmitter, MINT $35 + shipping or will sell both for $75 + shipping. Allied Knight Star Roamer receiver MINT condx $25 plus shipping.

WANTED: Collins 32V for parts. Collins knob kit for 75A4 (will take used one). AM filter for 75A4. Stancor 10P or Thordarson kit transmitter. Meissner traffic master or similar receiver.

COLLINS MANUAL SALE: Mint condition, latest edition (not copies) of KWM-2A transceiver (9th edition, 15 Jan 78) $40, 516F-2 power supply (15 Jul 74) $15 and 312B-4/5 VFO speaker wattmeter (7th edition, 15 Mar 78) $15. Complete set of three manuals, $60. All items postpaid.

WANTED: Large air variable transmitting capacitors, roller inductors, etc.

FOR SALE OR GIVE AWAY: 4 barns full of radio and photography equipment, car parts. NOTE CORRECTION. WRONG PHONE NUMBER WAS GIVEN IN THIS AD LAST MONTH.

WANTED: Schematics and/or manuals for NC-183D, DX-100, Apache, Clegg Interceptor.

FOR SALE: Thordarson 175 watt modulation transformer type 14M49. P-P TZ-40 (6900 ohms p-p) to 2850, 4500 or 6500 ohms. Case has a few rust spots but windings OK, 16 lbs. $20. Thordarson plate transformer type T-55627, 1400 volts CT @ 220 ma, enclosed upright case, 15 lbs, like new $15. Thordarson plate transformer type 5448, open frame construction, used, 1600 volts CT @ 150 ma., 11 lbs $10.

WANTED: Hallicrafters SX-28 working or not, will pay top dollar for very good model. Old Collins transmitters. Pre WWII 19" aluminum panels 14" or higher. FOR SALE: Hallicrafters HT-37 - excellent condition $125.

WANTED: Meissner Signal Shifter, model 9-1077/80 (plug-in coil type) and a front panel from a DX-100 transmitter, both in good condx. B&W 75 watt plug-in coils (5 prongs) model 80JEL and 40JEL or equivalent.

FOR SALE: Bendix 2000 watt industrial amplifier, 220 volt single phase, uses Amperex 5868's in final, pair 6146's driver, have 2, sell $275 ea. Large list of other variacs, transformers, capacitors, mercury relays, send SASE please.

HAVE FUN ON 20 mtr. AM! Convert a Radio Shack TRC-218 AM CB handheld to 14286 KHz., the 20 mtr. SPAM frequency. RF output 1-2 watts, receive sensitivity 0.8 uv. Just plug in 2 crystals, change capacitors only, and tune up. These are simple, easy to convert and they work. Send check or m.o. for $79.95.

FOR SALE: Tubes 4 304TH's $30 buy all 4 will include 2 sockets and 2 plate caps. 2 100TH's $22, 4 VT127's with 2 sockets $30. UTC S-22 250 w modulation transformer $35. UTC S-9 driver trans $7. B&W butterfly capacitor type CX, 62 pf/section, 0.25" spacing with HDVL jack bar $35.

This is the AM PRESS:
An amateur radio publication dedicated to Amplitude Modulation.
This is the AM EXCHANGE:
Offering FREE ADVERTISING to enhance the availability of AM equipment and parts.
DISPLAY ADVERTISING: Rates upon request.
Edited and published by Donald Chester, K4KYV
NOTICE: The purpose of this publication is the advancement of Amplitude Modulation in the Amateur Radio Service, and there is no pecuniary Interest. Therefore, permission is hereby expressed for the use of material contained herein without permission of the publisher, with the exception of specifically copyrighted articles, provided that The AM Press/Exchange is properly credited.